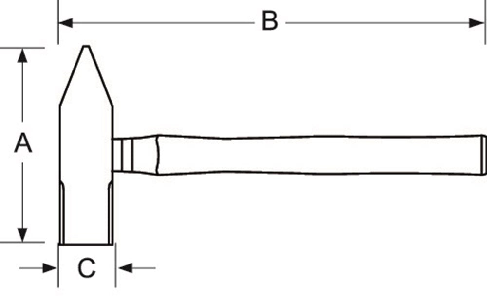
Bahco Bankhamer ALBR FB 800G – NS504-800-FB
- MerkBAHCO
€218,15€180,29
€144,44€119,37
Incl. BTWExcl. BTW
-
Je koopt met de zekerheden van Webwinkel Keur
| SKU: 02301691 |
| Barcode: 7314150285082 |
| Artikelcode: NS504-800-FB |
- Probleemloos retourneren binnen 30 dagen
- Bezorgd door DHL in heel Europa!
- Gratis verzending vanaf €50 naar Nederland en België
